|
电磁感应现象
【实验目的】
演示几种最基本的电磁感应现象,理解和掌握电磁感应定律。
【实验器材】
1号线圈,均匀绕在内径55mm,长95 mm的骨架上。2号线圈,绕在长85 mm,内径20 mm的骨架上。条形磁铁,为铝铁炭材料,长170
mm,宽20 mm,厚10 mm,磁场强度800~1000GS。软铁棒是Φ13 mm×130 mm低炭钢材料。24V直流电源自配,最大电流为1.5A。示教电表1个。连接线若干。

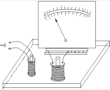
图57-1
【实验原理】
由于通过线圈回路的磁通量随时间变化而在回路中出现电动势的现象称为电磁感应现象。若回路闭合,则会有电流,线圈回路中出现的电流称为感应电流。
法拉第电磁感应定律
(57-1)
式(57-1)中, 为线圈匝数, 为通过单匝线圈的磁通量,负号是楞次定律的反映。由此负号在结合回路正方向的规定,可以确定回路中感应电流的方向。
由 知,其中 任一量变化,都可能会引起 变化。它们又可以归结为两类:
第一类:磁场( )不变,导体或导体回路作切割磁力线运动,即 变化,引起 变化。在这种情况下,出现的感应电动势称为动生电动势。
(57-2)
第二类:导体或导体回路不动,磁场( )随时间变化,即 变化,引起 变化,在这种情况下,出现的感应电动势称为感生电动势。
(57-3)
【实验操作与现象】
1.按照图57-1所示,正确连线。
2.将1号线圈接入示教电表的“M”接线端子上,将条形磁铁插入线圈后,示教电表即可向一个方向发生偏转。如将条形磁铁反方向插入,则表头向相反方向偏转。多次重复,注意观察示教电表指针偏转方向。
3.把电源正负极与2号线圈连接起来,打开电源,调到适当电压,如15伏左右。再将通电后的2号线圈替代条形磁铁,插入1号线圈,观察表头是否发生偏转?偏转大小与不通电时比较并分析。
4.在第三步的基础上,把软铁棒插入通电后的2号线圈里,然后一起再插入1号线圈。仔细观察表头发生偏转的现象,并与无铁芯时比较分析。可多次重复。
5.将2号线圈的直流电源正负极交换,重复3或4的过程,表头偏转方向是否与上述过程偏转方向相反,为什么?可多次重复。
6.先把电源关闭,将软铁棒插入2号线圈并一起放入1号线圈内。这时再打开电源,看到表头指针发生偏转后回到零位,关闭电源时,表头指针反向偏转后回到零位。可多次重复。
【注意事项】
1.线圈为有机玻璃骨架,切勿掉地,否则摔坏。
2.直流电压不能过高,否则将烧坏2号线圈,电压最高不得超过30V,连续通电不能超过30分钟。
|