|
阻尼摆与非阻尼摆
【实验目的】
演示涡电流的机械效应。
【实验器材】
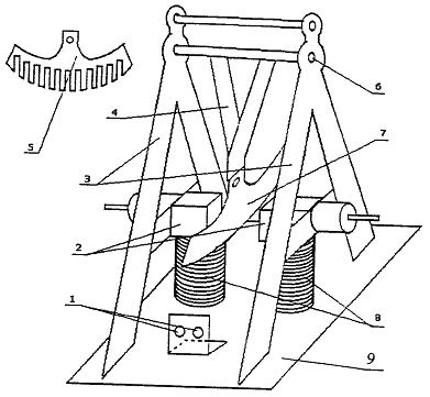
阻尼摆与非阻尼摆演示仪,如图66-1所示。其中①直流电源接线柱;②矩形磁轭,作用是当线圈中通有直流电源时,可在磁轭两极缝隙中间产生很强的磁场;③支撑架;④摆架;⑤非阻尼摆;⑥横梁;⑦阻尼摆;⑧线圈;⑨底座。直流稳压电源。
【实验原理】
处在交变电磁场中的金属块,由于受变化电磁场产生的感生电动势作用,将在金属块内引起涡旋状的感生电流,把这种电流称为涡电流。
在图66-1所示的实验装置中,但金属摆在两磁极间摆动时,由于受切割磁力线运动产生的动生电动势的作用,也将在金属摆内出现涡电流。
根据安培定律,当金属摆进入磁场时,磁场对环状电流的上、下两段的作用力之和为零;对环状电流的左、右两段的作用力的合力起阻碍金属摆块摆进的作用。当金属块摆出磁场时,磁场对环状电流的左、右两段的作用力的合力则起阻碍金属摆块摆出的作用。因此,金属摆总是受到一个阻尼力的作用,就像在某种粘滞介质中摆动一样,很快地停止下来,这种阻尼起源于电磁感应,故称电磁阻尼。
若将图66-1中的金属摆制成有许多隔槽的,使得涡流大为减小,从而对金属摆的阻尼作用变的不明显,金属摆在两磁极间要摆动较长时间才会停止下来。
电磁阻尼摆在各种仪表中被广泛应用,电气机车和电车中的电磁制动器就是根据此原理而制造的。
【实验操作与现象】

图66-1
1.把稳压电源输出的正负极连接到阻尼摆与非阻尼摆演示仪的直流电源接线柱,阻尼摆按图66-1所示接好。
2.打开稳压电源电源开关,先不要打开稳压电源的“输出”开关,即不通励磁电流,让阻尼摆在两极间作自由摆动,可观察到阻尼摆经过相当长的时间才停止下来(不考虑阻力)。
3.再打开稳压电源的“输出”开关,电压指示为28伏,此时在磁轭两极间产生很强的磁场。当阻尼摆在两极间前后摆动时,阻尼摆会迅速停止下来,说明了两极间有很强的磁阻尼。解释现象。
4.将带有间隙的类似梳子的非阻尼摆代替阻尼摆作上述2和3的实验,可以观察到不论通电与否,其摆动都要经过较长的时间才停止下来。为什么?
【注意事项】
1.操作前应把矩形磁轭和支撑架调整到位,确保摆动顺畅。
2.注意不要长时间通电,以免烧坏线圈。 |