|
运动的独立性
【实验目的】
观察在同一水平位置的二球,A球垂直落下的同时,B球以水平方向抛出,最后A、B二球同时落地。
【实验器材】
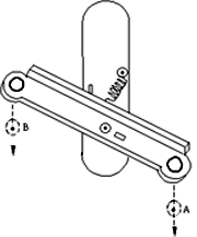
木版上有绕轴偏转的铁板,在板二端各有一凹坑可放铁球,木版上有固定着的拉力弹簧,另一端钩着铁板,如图1-1所示。

图 1-1
【实验原理】
若A,B二球在同一推力作用下,A球作自由落体运动而垂直落下,B球作抛物线运动,A、B二球同时落地,虽然B球受两种力,一种为向下的重力,一种为水平的冲力,可知B球受重力而发生的重力加速度,但不会因水平方向的冲力而影响其水平方向的动量,也不会因重力而改变,所以物体同时受到数力的作用,而各个力仍为独立,互不相干。
【实验操作与现象】
1.搬动铁板使偏离原位且锁扣锁住,把大小相同的二球放在板两端的凹坑里。
2.木版放在任意高度的水平位置,按下锁扣,弹簧把铁板拉回原位置,注意观察A,B二球在铁板推力作用下,落地情况。
|